汽车资讯新闻_汽车行情推荐_汽车信息动态-橙果余汽车网

亚马逊申请辅助配送车辆专利 将包裹从卡车配送到门口

陈思辰 141 0

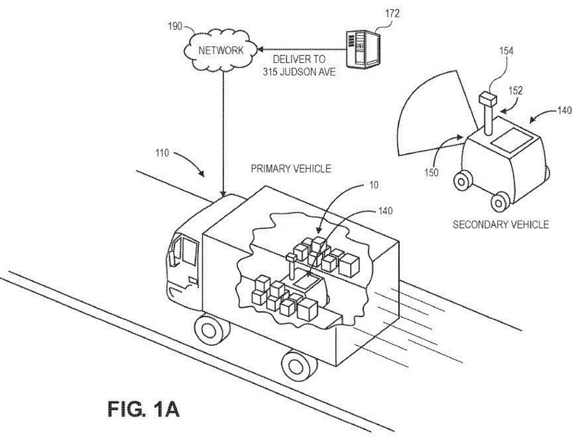
盖世汽车讯 据外媒报道,亚马逊(Amazon)就包裹配送系统申请了一项专利。该系统包括一种向多个投递点配送包裹的主车辆,以及将包裹从主车辆配送到最终目的地的更小的辅助配送车辆。

(图片来源:美国专利和商标局USPTO)

在过去几年中,亚马逊和快递公司UPS等实体企业一直在研究各种技术,以寻求一种将包裹从仓库运送到消费者的方法,如部署装有机器人的无人驾驶货车,以及可以直达客户或降落伞投递包裹的无人机。其重点是提高效率并降低成本。当然前提是电子配送机器人的成本低于人工。最近,亚马逊团队在寻求全新的解决方案,即将小型自动驾驶汽车装载到送货卡车上,从而向最终配送点运送包裹。

在各项应用中,主车辆采用厢式货车,并由人类驾驶。该车辆仍会搭载技术,但并非是用来辅助车辆本身或驾驶员,而是助力小型自动驾驶配送车辆。例如,当厢式货车抵达配送地点时,会对房屋即其外部进行扫描和研究,从而确定辅助配送车辆的最佳路径。确定路径后,包裹会被发配至辅助车辆,随后该车辆会自动从坡道滚下,抵达街道。当辅助车辆驶向前廊时,厢式货车将会监控其进度,并在需要时发送更新。此外,辅助车辆还将配备摄像头和导航设备。在行程中,辅助车辆会将图像以及其他数据发送回主车辆。这些数据与潜在障碍和问题相关,如有狗出现等。当包裹成功送达后,两辆车将协同工作,确保辅助车辆安全返回。

(图片来源:美国专利和商标局USPTO)

与所有专利申请一样,目前尚不清楚亚马逊是否打算开发这样的系统,或者是否正在开发新版本,例如采用飞行无人机从卡车后部弹出的方式。

*特别声明:本文为技术类文章,禁止转载或大篇幅摘录!违规转载,法律必究。