汽车资讯新闻_汽车行情推荐_汽车信息动态-橙果余汽车网

每日智联播报丨莫斯科计划提升电动汽车普及度 河南省遭遇强降雨

陈南 141 0

智联播报导读:2021.7.21

●蜂巢能源可量产装车无钴电池下线;

●注册资本2亿 宁德时代成立电子科技公司;

●华为“自动驾驶车辆的行为规划”相关专利获授权;

●特斯拉FSD将支持自动换档功能;

●特斯拉今年或向其他电动车开放充电网络;

●宏光MINIEV电动车即将登陆西班牙;

●莫斯科计划提升电动汽车普及度;

●FF与PSAC合并交易方案获股东大会通过;

●河南省遭遇极端强降雨:“蔚小理”捐款慰问,东风日产、东风小康启动24小时灾情应对机制。

国内资讯

蜂巢能源可量产装车无钴电池下线

近日,蜂巢能源首款无钴电池正式量产下线。据悉,本次量产下线的无钴电池是一款能量密度为240Wh/kg,容量为115Ah-MEB产品。该款电池具有高安全性、高能量密度、高循环寿命和低成本的核心优势。相比同级别的高镍三元电池,该款无钴电芯循环寿命可达到3000次以上,能通过150℃的热箱测试和140%SOC的过充测试,拥有 GB/IEC62660/UL2580/UN38.3等多项标准认证。在国家工信部最新公布的申报目录中,蜂巢能源无钴电池已经出现在长城欧拉樱桃猫上。

注册资本2亿 宁德时代成立电子科技公司

日前,我们从国家企业信用信息公示系统获悉,屏南时代电子科技有限公司正式成立。值得一提的是,该公司由宁德时代100%控股。从公示的信息来看,屏南时代电子科技有限公司注册资本为2亿元人民币,法定代表人为林松清。具体来看,屏南时代电子科技有限公司的经营范围较为简单,一般项目包括:电子专用材料研发、电子元器件与机电组件设备制造、电池制造、电池销售、电子元器件零售、电子专用材料销售(除依法须经批准的项目外,凭营业执照依法自主开展经营活动)。

华为“自动驾驶车辆的行为规划”相关专利获授权

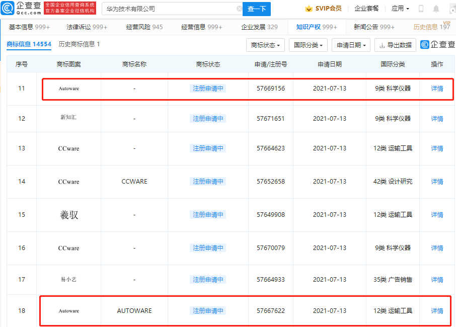
7月21日,企查查APP显示,华为技术有限公司“自动驾驶车辆的行为规划方法及行为规划装置”专利获授权,该项专利公开号为CN110379193B。专利摘要显示,本申请涉及人工智能,提供了一种自动驾驶车辆的行为规划方法以及行为规划装置。本申请的技术方案能够使得自动驾驶车辆安全快速的通过交叉路口。值得注意的是,近日,华为技术有限公司正在组成申请自动驾驶系统商标“Autoware”。据悉,“Autoware”是世界上第⼀款⽤于⾃动驾驶汽⻋的“⼀体化”开源软件。该商标国际分类涉及科学仪器、运输工具、设计研究,目前商标状态均为“注册申请中”。

特斯拉FSD将支持自动换档功能

近日特斯拉CEO埃隆·马斯克(Elon Musk)在推特上表示,所有配备完全自动驾驶功能(FSD)的特斯拉都将拥有自动换挡(Auto Shift)能力。据悉该功能作为完全自动驾驶(FSD)的一部分,将会率先应用在全新版本Model S和Model X上,随后也将在Model 3和Model Y上普及。

特斯拉今年或向其他电动车开放充电网络

日前,特斯拉CEO埃隆·马斯克在社交平台上表示,公司计划在今年晚些时候向其他电动汽车开放特斯拉的超级充电站网络。马斯克随后还补充称,之后会将特斯拉充电网络向所有国家的其他电动汽车开放。根据特斯拉公布的充电专报数据显示,截止今年上半年,特斯拉已在全球建设开放了超25000座超级充电站;其中在中国大陆开放了超过870座超级充电站、超6700个超级充电桩;特斯拉充电网络已全面覆盖中国大陆320座以上城市。今年6月23日,特斯拉中国光储充一体化超级充电站于拉萨正式落成开放,而在7月17日,上海光储充一体化超级充电站正式落成。

国际资讯

宏光MINIEV电动车即将登陆西班牙

据外媒报道,宏光MINIEV电动车的欧洲版车型即将登陆西班牙。该车将在西班牙市场被命名为Freze Nikrob,其将以立陶宛汽车品牌Dartz对外出售。Freze Nikrob计划在西班牙复制宏光MINIEV在中国的成功,该车的销售工作将由Invicta Electric集团负责。

莫斯科计划提升电动汽车普及度

据外媒报道,俄罗斯首都莫斯科的最高交通官员表示,该市计划在未来几年中,通过建设充电基础设施来提升电动汽车的普及程度。俄罗斯的电动汽车普及程度远远落后于其他欧洲国家,但是莫斯科交通局局长Maxim Liksutov表示,该市计划从今年开始每年建设200座充电站。Liksutov在接受采访的时候表示:“当前莫斯科有大约2000辆电动汽车,这一数字正在以每年大约10%至15%的速度增长。因此充电基础设施必须要以更快的速度增长。”他补充说,莫斯科这个拥有1250万居民的城市,将追随近年来在全球范围内出现的电动汽车趋势,这是一件非常自然的事情。

FF与PSAC合并交易方案获股东大会通过

美国纽约时间7月20日, 在Property Solutions Acquisition Corp. (“PSAC”) (纳斯达克股票代码:PSAC)举行的特别会议上,股东审议和投票通过了PSAC和Faraday Future之间的拟议合并交易有关的全部方案,且披露完整投票结果的8-K表格已经提交给美国证券交易委员会。 业务合并完成后,PSAC将更名为“Faraday Future Intelligent Electric Inc.”,其普通股和认股权证预计将于2021年7月22日前后在美国纳斯达克交易所开始交易,股票代码分别为 “FFIE”和“FFIE.WS”,其中的I代表智能(Intelligent)和互联网(Internet),E代表生态(Ecosystem)和电动车(Electric)。

热点追踪

河南省遭遇极端强降雨,“蔚小理”捐款慰问,东风日产、东风小康启动24小时灾情应对机制

(图片来源比格设计)

7月20日,河南省遭遇极端强降雨,郑州市多个国家级气象观测站日降雨量突破有气象记录以来历史极值。其中,郑州在7月18日18时-21日0时,出现罕见持续强降水天气过程,全市普降大暴雨、特大暴雨,累积平均降水量 449毫米。目前,已转移避险约10万人,洪灾已造成郑州市区12人死亡。根据《国家防汛抗旱应急预案》有关规定,国家防总决定于 7月21日3时将防汛 Ⅲ 级应急响应提升至 Ⅱ 级。

对此,东风日产、东风小康迅速启动24小时灾情应对机制,开启24小时经济救援通道,针对河南郑州及涉及灾情的其他周边区域东风日产及东风风光车主提供紧急救援服务。同时提醒车主如何应对车辆涉水事故,并提供了车辆免费检测、维修绿色通道、延长服务时间、专项技术支持、保险理赔协助、日报维修进度等,为受损车主提供一切必要的保障和服务,确保客户安心用车。

针对受灾五菱、宝骏品牌车辆,上汽通用五菱则推出了免费检查、免费领取工时抵用券政策。因灾情导致无法按期进店完成首次保养的用户,可享受首次保养延期一个月有效的政策。此外,灾情期间,进站车辆均可享受免费车内除菌消杀服务,并为人民群众和车主提供避灾场所、爱心餐食等服务。

针对郑州及周边遭受此次暴雨自然灾害的一汽-大众车主,一汽-大众开启专项呵护行动,提供包含三大免费:免费救援、免费安全检测、免费延长质保日期;五大关怀:绿色维修通道、代步车或交通补贴、赠送300元保养券、赠送抗过敏空调滤芯、赠送品牌精品雨伞。

自主品牌方面,比亚迪慈善基金会向郑州慈善总会捐款2000万元人民币,用于救灾紧急举措和灾后恢复工作。同时,比亚迪汽车已开启车主紧急救援服务通道,并开放郑州市所有4S店作为应急避难场所,附近市民可就近进店寻求援助。此外,以蔚来、小鹏、理想为代表的新势力企业也向灾区同胞表达了慰问,其中蔚来捐款1500万元、小鹏捐款1500万元、理想捐款1000万元。值得一提的是,阿里、腾讯、百度、字节跳动、美团、小米、360等互联网企业也纷纷捐款救灾,截止发稿前,上述几家公司的捐款总额已超5亿元。