汽车资讯新闻_汽车行情推荐_汽车信息动态-橙果余汽车网

四驱车型配后差速锁,还有底盘透视,哈弗大狗实车来了

陈祥雨 141 0




随着哈弗B06通过网上征集名称,最后被定名为“大狗”,一直以为它是H5继任车型的漫哥,被无情的打脸了……




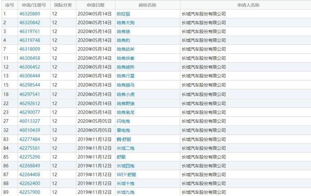
其实,长城除了注册了“大狗”之外,最近还注册了一系列关于“猛兽”以及各种“炮”的商标名称……




话说回来,既然名字有了,那么车子什么时候来呢?看官们莫急莫急,这不,近日网上就流传了一组哈弗大狗的实车图,按这节奏应该距离正式发布的日子已经不远了。




通过图片可以看到,新车的前脸轮廓相当硬朗,粗犷的横条格栅以及外凸的前保险杠,搭配圆形LED大灯,与硬派三杰的奔驰大G、路虎卫士以及JEEP牧马人看齐。而官方称这为“以型言型”的设计理念,至于怎么“型”,大家慢慢细品。对了,新车设计是由由前路虎设计总监、现长城汽车全球设计总监兼副总裁菲尔·西蒙斯操刀设计的。




侧面部分,“方盒子”的造型很符合其硬派SUV的身份,离地间隙也不差。对了,新车采用短前悬设计,理论上拥有不错的接近角,不过前保险杠就稍微粗了点。相比之下,后保险杠体积更小,原装情况下离去角数值应该也相当可观。




车尾部分没有过修饰,大狗也没采用时下最热门的贯穿式尾灯设计,而是配备了“L”型LED尾灯,中央为一块印有哈弗LOGO的黑亮饰板。再往下就是黑色的后保险杠,以及银色的下护板。虽然看起来没有太惊艳,但怎么看都舒服。




大狗的内饰此次算是“正式”曝光了,这跟此前网友描绘的手稿图保持一致,同样采用全新的设计,配备了附带换挡拨片的三辐方向盘,双层液晶仪表。其实上面是一个W-HUD大尺寸抬头显示,还可同时显示多种车辆行驶信息,其中包括导航、时速以及驾驶辅助等。






此外,回字形的空调出风口造型还挺别致的,横屏布局的大尺寸中控屏则形成了反差,呈现出一个U字形。副驾前方则附带一个把手以及分层的储物空间,而A柱还有辅助上下车的把手,这一般只有硬派越野车上才能看到。




新车还将配备透明车底技术,把汽车底盘下方通过车身摄像头把实时影像传输到车内中控大屏上,方便司机看到脚下路面的实时路况,这个配置此前在路虎发现上已经出现过。




根据官方公布的信息,新车将搭载1.5T、2.0T两款发动机,其中2.0T将提供四驱车型,并提供后差速锁配置选择,这又打脸了漫哥此前的YY。不过,这不是H5的继任车型,所以还是期望一下后面到来的车型吧,说不定还真有“三把锁”的车型。



本文图片|来源网络

编辑|通通车


本文原作者为陈祥雨,转载请明:注手机百科网出处!如该文有不妥之处,请联系站长删除,谢谢合作~