特斯拉充电站继拉萨后落户在又一新城市!居然有这些作用? 本文的标题是《特斯拉充电站继拉萨后落户在又一新城市!居然有这些作用?》来源于:网络由作者:陈思睿采编而成,关键词是特斯拉,充电站,主要讲述... 陈思睿 2021-07-22 200
试驾传祺影豹,动力竟还不是最大亮点? 本文的标题是《试驾传祺影豹,动力竟还不是最大亮点?》来源于:网络由作者:陈志挥采编而成,关键词是试驾,亮点,主要讲述了 影豹... 陈志挥 2021-07-22 92
雪佛兰畅巡米奇太空版上市 售价15.99-17.99万起 本文的标题是《雪佛兰畅巡米奇太空版上市 售价15.99-17.99万起》来源于:网络由作者:陈志铎采编而成,关键词是雪佛兰,太空,主要讲述了雪佛兰畅巡米奇... 陈志铎 2021-07-22 124
进入2.0时代的零跑汽车,三年超过特斯拉,底气何在? 本文的标题是《进入2.0时代的零跑汽车,三年超过特斯拉,底气何在?》来源于:网络由作者:陈宣荣采编而成,关键词是特斯拉,底气,主要讲述了零跑汽... 陈宣荣 2021-07-22 108
“提鲜”上汽大众!这对“鱼羊组合”,可不想只做“卖车佬” 本文的标题是《“提鲜”上汽大众!这对“鱼羊组合”,可不想只做“卖车佬”》来源于:网络由作者:陈宣雯采编而成,关键词是组合,大众,主要讲述了... 陈宣雯 2021-07-22 110
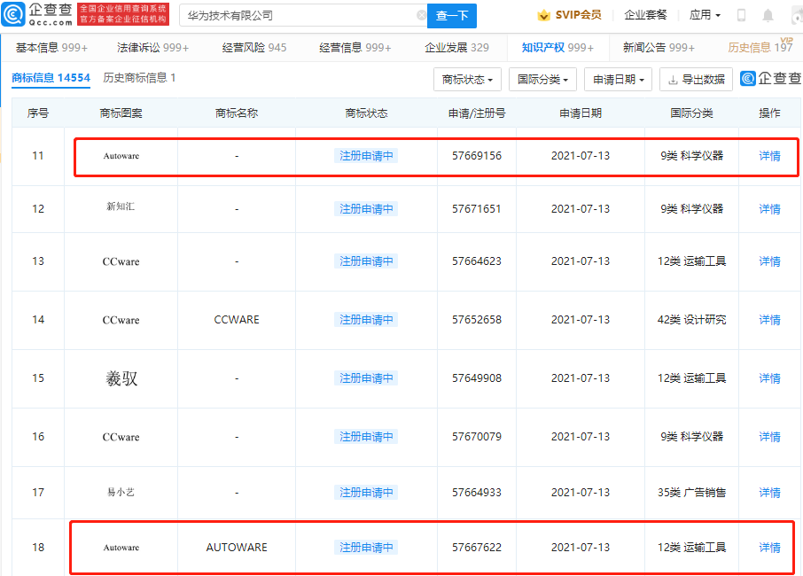
华为申请自动驾驶系统“Autoware”商标 本文的标题是《华为申请自动驾驶系统“Autoware”商标》来源于:网络由作者:陈志斌采编而成,关键词是华为,商标,主要讲述了IT之家 7 月 20 日消息 信息... 陈志斌 2021-07-22 142